四川爆炸鞭炮厂:去年发生燃爆,实控人曾为安全生产专家
据央视新闻客户端消息,7月8日晚上9点10分左右,四川德阳119接警,称广汉市消防南丰镇元盛村5组一鞭炮厂引线车间起火引发爆炸,消防救援人员立即赶赴现场;7月9日2时00分,广汉市人民政府新闻办官方微博发布《关于广汉金雁花炮有限责任公司南丰生产区发生燃爆事故的情况通报》,通报称,四川广汉金雁花炮有限责任公司南丰生产区厂房发生燃烧,22:25引发燃爆。事故造成6人受伤,其中2人重伤、4人轻伤,目前正在医院救治。事故发生原因正在调查中。
据广汉市人民政府网站,广汉市位于“天府之国”腹心地带核心区,南距成都市区20公里,北距德阳市区19公里。
经新京报记者梳理发现,广汉金雁在此次事故发生前,已存在涉及多起借款纠纷案件、实控人股权被冻结、实控人被列为老赖、连续两年因生产安全被处罚等状况。而在广汉金雁存在诸多问题的另一面,其实际控制人谢祥贵曾于2015年被聘为四川省安全生产专家委员会专家,不过,在四川省政府官网公布的2017年专家名单中,谢祥贵和广汉金雁的名字已不见踪影。
企查查显示,广汉金雁成立于2006年10月20日,注册资本1000万元,法定代表人为柴畅,注册地址位于四川省德阳市广汉市连山镇龙泉村十社,而此次发生燃爆事故的是其位于广汉市南丰镇的生产区。资料显示,广汉金雁的经营范围包括生产烟花类(B、C、D级)、爆竹类(C级)、引火线类(安全生产许可证有效期至2021年12月26日止)。
值得注意的是,广汉金雁由谢祥贵100%控股,而谢祥贵曾为四川省人民政府聘用的安全生产专家。
四川省人民政府官网2015年挂网文件显示,谢祥贵曾被聘为安全生产专家委员会专家,当时,谢祥贵是850名安全生产专家名单中的一名,在这份专家名单中,个人从事专业为 “烟花爆竹”的共有16人,占比为1.88%,而谢祥贵的从事专业为“企业管理”。
截图自四川省人民政府官网。
截图自四川省人民政府官网2015年挂网的《四川省安全监管局(四川煤监局)安全生产专家名单》。
不过,在官网披露的《2017年四川省安全生产专家名单》中,谢祥贵和广汉金雁的名字已不见踪影。曾被政府聘为安全生产专家,谢祥贵实控的广汉金雁却于2019年、2020年接连因生产安全问题而受到当地的行政处罚。
2019年,广汉金雁因“未将事故隐患排查治理情况如实记录并向从业人员通报”,以及“事发前协和分厂装药车间44号工户盛装药物的料斗里的药物(银粉)的药面超过料斗的边沿,导致2019年1月21日发生一起燃爆事故,未造成人员伤亡”,而受到广汉市安全生产监督管理局处罚。
截图自企查查。
此外,今年4月17日,四川省德阳市应急管理局对广汉金雁进行立案处罚。广汉金雁烟花生产区称量工房存在违规存放烟花生产原料,涉嫌违反《烟花爆竹安全管理条例》第十一条的规定。
处罚详情显示,2020年3月23日,在组织烟花生产作业过程中,广汉金雁在烟花生产区C6称量工房内违规存放烟花生产原料药剂。该称量工房氧化剂房定量为50千克,实际存放“三味粉”25×9千克,高氯酸钾25×2千克、工业硝酸钡25×3千克、氧化铜25×5千克,违规超量存放425千克;该称量工房还原剂房定量为50千克,实际存放糯米粉20×3千克、聚氯乙烯粉树脂20×5千克、碳酸锶25×2千克、活性水晶石25×1千克、石蜡25×2千克、松木碳粉25×4千克,违规超量存放335千克;C6称量工房还原剂房内违规混存氧化铜25千克。
最终,四川省德阳市应急管理局认定,广汉金雁未执行《烟花爆竹作业安全技术规程》的规定,主要证据包括《现场检查记录》、《勘验笔录》、《询问笔录》以及广汉金雁提供的证据资料等,并决定给予广汉金雁罚款2万元的行政处罚。
企查查显示,广汉金雁分别持有成都吉顺烟花爆竹连锁有限责任公司(下称“成都吉顺烟花”)和广汉市事诚互助式融资担保有限责任公司(下称“事诚融资担保”)的49%和8%股权,而谢祥贵同时为事诚融资担保的法定代表人,后者注册资本5000万元,成立于2008年7月。
谢祥贵于2015年被成都铁路运输法院列为失信被执行人,彼时,法院判定被执行人攀枝花市金坤工贸有限责任公司、四川吴鑫融资担保有限公司、詹灵、张兴琴、谢祥贵等需向申请执行人贵阳银行股份有限公司成都分行支付欠款2787.959万元。
截至发稿,新京报记者查询中国执行信息公开网,谢祥贵仍是失信被执行人,其履行情况一栏为“全部未履行”。
除广汉金雁外,谢祥贵还分别持股四川省广汉金雁艺术焰火燃放有限公司80%、攀枝花市金坤工贸有限责任公司20%、四川德龙花炮有限公司74%、四川省新宏欣商贸有限责任公司50%、四川瑞祥餐饮管理有限公司35%、广汉市烟花爆竹有限责任公司32%和成都利索游网络科技有限公司17%等7家企业的股权,然而,后5家企业均已被注销或吊销。
此外,资料显示,广汉金雁因借款合同纠纷案由,曾15次被起诉。目前,广汉金雁为两起案件的被执行人,涉案执行标的分别为234.338万元和587.7173万元,执行法院均为广汉市人民法院,立案日期均为今年4月8日。
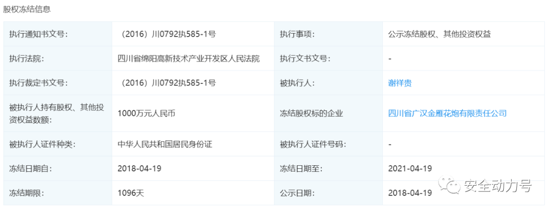
与此同时,广汉金雁所持有的成都吉顺烟花和事诚融资担保的所有股权均已被冻结。
作为广汉金雁的实控人和事诚融资担保的法定代表人,谢祥贵于2017年11月将其所持的全部广汉金雁股权进行出质,质权人为四川广汉农村商业银行股份有限公司。目前,谢祥贵该部分股权也已被全部冻结,冻结日期至2021年4月19日。
