《固定式金属梯及平台安全要求 第2部分:斜梯》GB 4053.2-2025标准解读
《固定式金属梯及平台安全要求 第2部分:斜梯》GB 4053.2-2025 发布于2025年12月31日,于2027年1月1日实施。
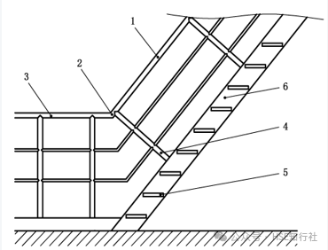
适用范围 适用于工业企业内工作场所中使用的固定式金属斜梯的设计、制造和安装。不适用于安装在核设施、船舶、 起重机械、输电塔上的固定式金属斜梯。 倾角、梯段高度、通行空间、净宽度要求 倾角、梯段高度要求: 梯段高度≤6m;总高度>6m,应分段设梯。 总高度≤6m,不用分段设梯。 通行空间要求: 净空高度:H1≥2000mm,作为疏散通道时,净空高≥2100mm 斜梯坡度线到上方障碍物的最小距离S: 倾角≤45°时, S≥1200mm 倾角>45°时, S≥850mm 斜梯内侧净宽: 偶尔单向通行, 内侧净宽应≥500mm 经常性双向通行, 内侧净宽应≥1000mm 螺旋梯内侧进宽: 内侧净宽应≥650mm 注:“偶尔”指使用频率每年低于30天且每天低于2h。 倾角要求: 优选倾角:30°~35° 经常双向通行最大倾角:38° 偶尔通行的最大倾角:42° 斜梯踏步、踏板尺寸 平台设置要求: 1、斜梯的踏步宽与踏步高的组合值L计算: 550mm≦L=g+2r≦700mm g——踏步宽,单位为毫米(mm) r——踏步高,单位为毫米(mm) 2、常用的斜梯倾角与踏步宽、踏步高尺寸组合(L =600mm时): 倾角 30° 35° 40° 45° 50° 55° 60° 65° 70° 75° 踏步高(r) 160 175 185 200 210 225 235 245 255 265 踏步宽(g) 280 250 230 200 180 150 130 110 90 70 注:常用的斜梯倾角不低于30°,成人步距平均在600mm左右, 常用的L取值为600mm。 3、不同踏板形式的踏板宽度、相邻踏板水平投影长度也不相同,具体如下: 踏板之间封闭: 踏板之间不封闭: 踏板之间不封闭,但踏板有凸起: 非螺旋梯的踏板宽度≥80mm,同一梯段踏板宽度应保持一致。 相邻踏板之间由垂直板件封闭时, 或踏板的踩踏面前方有凸起时, 踏板宽度≥170mm。 相邻踏板水平投影重叠长度: 1、垂直板件封闭时, 重叠长度≥0mm 2、垂直板件未封闭时, 重叠长度10mm~35mm 注:踏板的踩踏面应采用防滑材料或有不小于25mm 宽的防滑突沿,采用花纹板、经防滑处理的金属板、格栅板等。 螺旋梯踏步、踏板尺寸 距离螺旋梯扇形踏步窄边300mm处的踏步宽应不小于170mm。 螺旋梯的踏步高应在160mm~240mm范围内。 螺旋梯同一梯段踏板的平面投影圆心角应保持一致(梯段顶部踏板除外)。 防护栏杆与扶手 防护栏杆设置: 当斜梯侧面敞开边缘的临空高度≥1200mm时, 敞开边缘应设置防护栏杆。 倾角≤45°的斜梯, 防护栏杆立柱应垂直于踏板, 并从第一级踏板起始设置。 倾角>45°的斜梯: 1、防护栏杆立柱垂直于踏板时, 立柱从第一级踏板起始设置。 2、防护栏杆立柱垂直于起坡线时,起始位置设置要满足以下要求: 下方工作面有防护栏时,起点与防护栏顶部横杆连接。 下方工作面无防护栏时,起点距离工作面竖向距离≤1200mm。 立杆垂直于起坡线,下方有护栏 立杆垂直于起坡线,下方无护栏 扶手设置: 扶手设置主要根据斜梯的倾角、斜梯的梯宽来设置,设置要求如下图: 斜梯防护栏杆高度≤1200mm时, 顶部横杆兼做扶手。 单独设置斜梯扶手时, 扶手竖直高度为860mm~1000mm。 扶手起始点距离地面或平台的垂直距离应≤1000mm。 梯间平台与门 梯间平台: 1、梯间平台宽度应不小于梯子宽度, 对斜梯应不小于760mm 。 2、梯间平台在行进方向上的长度应不小于梯子宽度, 对斜梯应不小于850mm。 3、梯间平台要符合GB4053.3—2025的规定。 自闭门: 1、自行关闭、保持在关闭位置但不锁定。 2、采用平开方式向平台内打开、打开角度不小于 90°。 3、关闭时由挡块阻挡,防止人员推开发生坠落或其他意外伤害。 4、不设置踢脚板、底部距离平台高度为120mm~500mm。 5、自闭门要符合GB4053.3—2025的规定。 荷载 梯梁、踏板、顶部横杆、中间杆、立柱荷载如下: 1、梯宽<1200mm 时, 非螺旋梯踏板应承受跨中100mm×100mm 区域上作用≥1.5kN集中活荷载。 2、梯宽梯宽≥1200mm时, 非螺旋梯踏板应承受跨中间隔600mm的两100mm×100mm区域上同时作用≥1.5kN集中活荷载。 3、螺旋梯的踏板应承受靠近外侧边缘100 mm×100mm 区域上作用不小于1.5kN 集中活荷载。 使用说明和警示信息 斜梯的使用说明和警示信息,主要从“斜梯的使用说明”、“斜梯的警示信息”、“自闭门的警示信息”三方面来完善,同时涉及到的安全色和安全标志应符合 GB2894 的规定。 1、斜梯的使用说明,包括但不限以下内容: a) 斜梯、平台的最大允许荷载.。 b) 自闭门的安全使用信息。 c) 维护和检查的要求。 需要设计、制造方提供使用说明。 2、斜梯的警示信息,包括但不限以下内容: a)最大荷载信息(包括允许的最大负载人数、工具和装备等最大附加荷载)。 b)人员攀登时的安全要求(例如当心坠落、必须戴安全帽等)。 3、自闭门的警示信息,包括但不限以下内容: a)禁止倚靠的信息。 b)小心坠落的信息。 c) 提示非通行状态保持关闭。


















